SGA-900ϵÁÐ
ÎÂÊÒÆøÌå¼ì²âÒÇ£¨ÔÚÏß¼à²âϵͳ£©
Ò»¡¢ÏîÄ¿±³¾°
¶þ¡¢ÎÂÊÒÆøÌåµÄÖ÷Òª³É·Ö
Èý¡¢ÎÂÊÒÆøÌåÔÚÏß¼à²âϵͳ²úÆ·¼ò½é
ËÄ¡¢ÎÂÊÒÆøÌåÔÚÏß¼à²âϵͳ²úÆ·ÌØµã
Îå¡¢ÎÂÊÒÆøÌåÔÚÏß¼à²âϵͳ²úÆ·²ÎÊý
Áù¡¢ÎïÁªÍøÆ½Ì¨
Æß¡¢ÎÂÊÒÆøÌåÔÚ¼à²âϵͳӦÓó¡Ëù
Ò»¡¢ÏîÄ¿±³¾°
ÎÂÊÒÆøÌåµÄÅŷŶøµ¼ÖÂÈ«ÇòÆøºò±äů£¬ÔÚ½üÄêÀ´³ÉΪ¹ú¼ÊÉç»á¹ã·º¹Ø×¢µÄÎÊÌâ¡£ÎÒ¹úΪÁË»ý¼«Ó¦¶ÔÆøºò±ä»¯£¬²»½ö³ǫ̈ÁËһϵÁÐÏà¹Ø´ëÊ©Óë±ê×¼£¬²¢Ìá³ö̼ÅÅ·ÅÔÚ2030Äêǰ´ïµ½·åÖµ£¬Á¦Õù2060ÄêǰʵÏÖ̼Öк͡£Í¬Ê±£¬³«µ¼½ÚÄܼõÅÅ£¬·¢Õ¹Çå½àÄÜÔ´£¬ÍƽøÉç»áµÄ¿É³ÖÐø·¢Õ¹¡£

¶þ¡¢ÎÂÊÒÆøÌåµÄÖ÷Òª³É·Ö
¸ù¾Ý¡¶¹¤ÒµÆóÒµÎÂÊÒÆøÌåÅŷźËËãºÍ±¨¸æÍ¨Ôò¡·GB/T 32150-2015ÒÔ¼°ÁªºÏ¹úͨ¹ýµÄ¡¶¾©¶¼Ò鶨Êé¡·ÖеÄÄÚÈÝ£¬Ã÷È·ÁËÎÂÊÒÆøÌåµÄÖ÷Òª³É·ÖΪ¶þÑõ»¯Ì¼¡¢Ñõ»¯Ñǵª¡¢¼×Íé¡¢Áù·ú»¯Áò¡¢Èý·ú»¯µª¡¢·úÀû°ºµÈÆøÌå¡£

Èý¡¢ÎÂÊÒÆøÌåÔÚÏß¼à²âϵͳ²úÆ·¼ò½é
SGA-900ϵÁÐÎÂÊÒÆøÌå¼ì²âÒÇÊÇÉî¹ú°²µç×ÓÔËÓÃÊ®¶àÄê»·¾³¼à²â¾Ñ飬רÃÅÕë¶Ô̼´ï·å̼Öкͼà¹ÜÅÅ·ÅÆóÒµ£¬ËùÑз¢Éú²úµÄÒ»¿î¶à×é·ÖÎÂÊÒÆøÌåÔÚÏß¼à²âϵͳ¡£²úÆ·ºËÐIJÉÓÃÉî¹ú°²ÐÂÐÍÖÇÄÜÆøÌå´«¸Ð¼¼Êõ£¬²»½öÂú×ã¹ú¼Ò±ê×¼¡¶¹¤ÒµÆóÒµÎÂÊÒÆøÌåÅŷźËËãºÍ±¨¸æÍ¨Ôò¡·GB/T 32150-2015ÒÔ¼°ÁªºÏ¹úͨ¹ýµÄ¡¶¾©¶¼Ò鶨Êé¡·Öй涨µÄ¶þÑõ»¯Ì¼¡¢Ñõ»¯Ñǵª¡¢¼×Íé¡¢Áù·ú»¯Áò¡¢Èý·ú»¯µª¡¢·úÀû°ºµÈÆøÌ壬²¢ÇÒSGA-900ϵÁÐÎÂÊÒÆøÌå¼ì²âÒÇÖ§³ÖÀ©Õ¹ÑõÆø¡¢Ì¼Ç⻯ºÏÎï¡¢TVOC¡¢PM2.5¡¢PM10¡¢ÎÂʪ¶È¡¢´óÆøÑ¹¡¢·çËÙ¡¢·çÏòµÈ²ÎÊý£¬Âú×ãÓû§²»Í¬µÄ¼à²âÐèÇó£»ÏÖÒѹ㷺ӦÓÃÔÚ¸ÖÌú¡¢»¯¹¤¡¢µçÁ¦¡¢ÄÜÔ´¡¢ÃºÌ¿µÈÐÐÒµ¡£

SGA-900ϵÁÐÎÂÊÒÆøÌå¼ì²âÒÇÓɲÉÑù¡¢Ô¤´¦Àí×°Öá¢ÖÇÄÜοØ×°Öá¢Êý¾Ý´¦Àí·ÖÎö¡¢Êý¾Ý´æ´¢¡¢Êý¾ÝÏÔʾ¡¢Êý¾ÝÉÏ´«µÈµ¥Ôª×é³É£¬ÏµÍ³¾ßÓиßβÉÑù¡¢³ýË®¹ýÂË¡¢¾«¶È¶È¡¢Îȶ¨ÐÔÇ¿µÈÌØµã¡£ÎÂÊÒÆøÌå¼ì²âÒÇÄÚÖýø¿Ú¸ßÐÔÄÜÕæ¿Õ±Ã¡¢¿ÉÒÔÔ¶¾àÀë²ÉÑù£»Ô¤´¦Àí×°Öã¬ÓÐЧ¹ýÂ˼ì²â»·¾³ÖеÄϸ΢ÔÓÖÊ£»ÖÇÄÜοؿØÖÆ×°Öã¬È·±£¼ì²â·ÖÎö¾«¶È£»Êý¾Ý´¦ÀíÒÔ¼°·ÖÎöµ¥Ôª½«ÊµÊ±ÏÔʾ¼à²âÆøÌåµÄŨ¶ÈÖµ£¬²¢¿Éͨ¹ýϵͳ½øÐд洢¡¢µ¼³ö¡¢´òÓ¡£¬Ò²¿Éͨ¹ýÎÞÏß´«Ê佫Êý¾Ý´«ÊäÖÁÆóҵƽ̨¡¢»·±£¾Öƽ̨»òÉî¹ú°²ÎïÁªÍøÆ½Ì¨£¬½øÐÐͳһ¹ÜÀí¡£

SGA-900ϵÁÐÎÂÊÒÆøÌå¼ì²âÒÇÄÚÖõĴ«¸ÐÆ÷¾ßÓжÀÁ¢ÆøÊÒ£¬Äܳä·Ö¿ìËÙÓÐЧµÄ·´À¡Ä¿±êÆøÌåŨ¶ÈÖµ£»²ÉÓù¤Òµ¼¶¸ß¾«´¥ÃþÆÁ£¬¿ÉʵʱÏÔʾµ±Ç°Å¨¶ÈÖµ¡¢×î´óÖµ¡¢×îСֵ¡¢1·ÖÖÓ¡¢1Сʱƽ¾ùÖµµÈ£¬²¢¿ÉѡȡÈÎÒâʱ¼ä¶ÎµÄÀúÊ·Êý¾Ý£¬²éѯ¡¢½øÐÐÇúÏßÏÔʾ£»Áãµã×Ô¶¯Ð£×¼¡¢»ù×¼Ïß×Ô¶¯µ÷Õû£¬È·±£Êý¾ÝÎȶ¨¡£ SGA-900ϵÁÐÎÂÊÒÆøÌå¼ì²âÒDZêÅä´øÒ»ÌåʽÉù¹â±¨¾¯Æ÷£¬ÆøÌåŨ¶È³¬±êϵͳ×Ô¶¯±¾µØ±¨¾¯£¬Ò²¿Éͨ¹ýÎïÁªÍøÆ½Ì¨ÉèÖÃÁٽ籨¾¯¡¢Çø¼ä±¨¾¯¡¢µôÏß±¨¾¯µÈ¶àÖÖ±¨¾¯·½Ê½£¬Í¨¹ý¶ÌÐÅ¡¢ÓÊÏ䡢΢Ðŵȣ¬µÚһʱ¼ä½«±¨¾¯ÐÅÏ¢·¢Ë͸øÏà¹ØÈËÔ±¡£Õë¶Ô¸ßλ·¾³Öмà²âÎÂÊÒÆøÌ壬 SGA-900ϵÁÐÎÂÊÒÆøÌå¼ì²âÒÇ»¹¿ÉÑ¡ÅäÉî¹ú°²Ä͸ßÎÂÐÍ̽¸Ë£¬Ö§³Ö×î¸ßÔÚ800¡æµÄ»·¾³ÏÂÖ±½Ó²ÉÑùʹÓá£

ËÄ¡¢ÎÂÊÒÆøÌå¼ì²âÒDzúÆ·ÌØµã
¡ô1-10ÖÖÎÂÊÒÆøÌå²ÎÊýÈÎÒâ×éºÏ£¬ÊµÊ±ÕÆÎÕ¼à¿ØµØµãµÄÆøÌåÅÅ·ÅŨ¶ÈºÍ¹æÂÉ
ÈÎÑ¡ÎÂÊÒÆøÌåÔÚÄÚµÄ1-6¸öÖ¸±ê£¬²¢¿ÉÍØÕ¹ÖÁ10ÖÖÄ¿±êÆøÌå
Ä¿±êÆøÌå¿É½øÐÐÈÎÒâ×éºÏ¡¢¼¼ÊõÔÀí²»ÏÞ¡¢¼ì²â·¶Î§²»ÏÞ
ͬʱ֧³ÖÆøÏóPM2.5¡¢PM10¡¢ÎÂʪ¶È¡¢·çËÙ·çÏò¡¢´óÆøÑ¹µÄ¼à²â
¡ôÓѺÃÈË»ú½çÃæ£¬ÍêÃÀÕ¹ÏÖ¸÷Ïî¼à²âÊý¾Ý
¹¤Òµ¼¶¸ßÇå7Ó¢´ç´¥ÃþÆÁ£¬¼à²âÊý¾Ý£¬Ò»Ä¿ÁËÈ»
ʵʱÏÔʾ¼à²âÖ¸±êµÄʵʱֵ¡¢µ¥Î»Öµ¡¢×î´óÖµ¡¢×îСֵ¡¢1·ÖÖÓºÍ1Сʱƽ¾ùÖµ
¿É²éѯÈÎÒâʱ¼ä¶ÎµÄÀúÊ·Êý¾Ý£¬²¢ÇúÏßͼÐÎÏÔʾ
¡ôϵͳ¼æÈÝÐÔ¡¢À©Õ¹ÐÔÇ¿£¬¹¦ÄÜÇ¿´ó
¼æÈݵ绯ѧ¡¢MOS¡¢PID¡¢´ß»¯¡¢ºìÍâÏß¡¢°ëµ¼ÌåµÈ´«¸ÐÆ÷¼¼ÊõÔÀí
¼æÈݹúÍâÒ»Ï߯·ÅÆÆøÌå´«¸ÐÆ÷
¼æÈÝÄ¿±êµÄÆøÌå²»ÏÞ£¬1000¶àÖÖÆøÌåºÍÁ¿³Ì¾ù¿ÉרÊô¶¨ÖÆ£¬ÊµÏÖͬʱÔÚÏß¼à²â
¡ôÖÇÄÜ´«¸Ð¼¼Êõ£¬×Ô¶¯Ê¶±ðÀ©Õ¹£¬Ò»»ú¶àÓÃ
ÄÚÖÃÉî¹ú°²Ô¤±ê¶¨ºÃµÄÖÇÄÜÆøÌå´«¸ÐÆ÷£¬¼´²å¼´Óã¬×Ô¶¯Ê¶±ð
¿Éͨ¹ý¸ü»»²»Í¬µÄÖÇÄÜÆøÌå´«¸ÐÆ÷£¬ÊµÏÖ¶ÔÏÖÓÐ10ÖÖÆøÌåÒÔÍâµÄÆøÌå½øÐмì²â£¬Ò»»ú¶àÓ㬽ÚÔ¼³É±¾
×÷ΪÒ×ºÄÆ·µÄÆøÌå´«¸ÐÆ÷ÊÙÃüµ½ÆÚºó£¬²»Ðè²ðжºÍ·µ³§£¬Ö±½Ó¸ü»»ÖÇÄÜÆøÌå´«¸ÐÆ÷¼´¿É£¬Î¬»¤·½±ã
¡ô·´Ó¦ÁéÃô¡¢²âÁ¿¾«×¼¡¢¾«È·¶È¸ß¡¢
²ÉÓÃÉî¹ú°²×¨Àû¼¼Êõ32λ´¦ÀíоƬ£¬ºËÐÄ´«¸ÐÆ÷¿ÉÒÔ¾«×¼Ê¶±ðµ½ppb¼¶±ðµÄÄ¿±êÆøÌåŨ¶È
Éî¹ú°²100%Ñ¡ÓùúÍâÔ×°½ø¿ÚÆøÌå´«¸ÐÆ÷£¬¼«´óµØ±£ÕÏÁ˲úÆ·°²È«ÐÔºÍÎȶ¨ÐÔ
È«Á¿³ÌÎÂʪ¶È²¹³¥ºÍÉî¹ú°²×¨ÀûÊý¾ÝÐÞÕý¹¦ÄÜ£¬È·±£¶ñ³ôϵͳÔÚ²»Í¬»·¾³Ïµij¤ÆÚʹÓÃ
¡ô½ø¿ÚÕæ¿Õ±Ã¡¢¶àÖØ¹ýÂ˱£»¤×°Öᢴ«¸ÐÆ÷רÓÃÆøÊÒ
Ô×°½ø¿ÚÕæ¿Õ±Ã£¬ÌṩÎȶ¨Æ½ÎÈÆøÁ÷
Á½¼¶¸ßЧ¹ýÂËÆ÷¡¢³ýË®¡¢³ý³¾¡¢¸ÉÔï
´«¸ÐÆ÷רÊô¶¨ÖÆÆøÊÒ£¬Ä¿±êÆøÌå³ä·ÖÓÐЧ·´Ó¦¼ì²â
¡ôÖÇÄÜУ׼¡¢¶àÖÖÊý¾ÝÐÞÕýģʽ£¬È·±£Êý¾ÝÎȶ¨
Áãµã×Ô¶¯Ð£×¼
ÖÇÄÜÊý¾Ý²¹³¥
KÖµÖÇÄÜËã·¨
±êÆøÄ¿±êµãУ׼
¡ô¶àÖÖÐźÅÊä³ö¿ÉÑ¡£¬´«Êä¶àÑù»¯
Éî¹ú°²ÌṩÓÐÏßÔ¶³Ì·½Ê½ÓУºRS485¡¢RS232
Éî¹ú°²ÌṩÎÞÏßÔ¶³Ì·½Ê½ÓУºGPRS
¡ô´óÈÝÁ¿Êý¾Ý´æ´¢£¬¼Ç¼°²È«Ã¿Ò»¿Ì
ÄÚÖôóÈÝÁ¿´æ´¢¿¨£¬Ö§³Ö10ÍòÌõÒÔÉÏÊý¾Ý´æ´¢
×ÔÓÉÉèÖÃÊý¾Ý´æ´¢¼ä¸ôʱ¼ä
ÓÃUÅ̿ɵ¼³öÊý¾Ý£¬Êý¾Ý¸ñʽΪEXCEL
¡ôÖÇÄÜοØ×°Öã¬ÑÏ¿Á»·¾³£¬Ó¦¶Ô×ÔÈç
¶ÀÌØË«²ã±£»¤ÏäÄÉÃ×·À»¤Í¿²ã¼¼ÊõÉè¼Æ£¬È·±£Í¨·ç¡¢É¢ÈÈ¡¢ÄÍÈÕɹÓêÁÜ¡¢¿¹Ëá¡¢¿¹¼î¡¢·À¸¯£¬±£Õϰ²È«¼ì²â£»
¹¤Òµ¼¶EMCÄ£¿é£¬¶þ¼¶·ÀÀ×£¬¿ÉÔÚÇ¿´ÅºÍ¸ß¾²µç»·¾³ÏÂÕý³£Ê¹ÓÃ
ÖÇÄÜοØ×°Öã¬ÎÞÂÛÏÖ³¡»·¾³¸ß´ï100¡æ»¹ÊÇ-40¡æ£¬¶¼¿ÉÒÔ±£³ÖÒDZí²ÉÑùζȺ㶨ÔÚ25¡æ×óÓÒ¡£
ÁíÓÐÉî¹ú°²×¨ÓõĸßÎÂ̽Õ룬֧³Ö×î¸ß800¡æ»·¾³ÏÂÖ±½Ó²ÉÑùʹÓÃ
¡ô×ÊÖÊÆëÈ«¡¢³§¼ÒÖ±Ïú
Éî¹ú°²ÏȺó»ñµÃ100¶àÏî¹ú¼ÒרÀûºÍÈÙÓþÖ¤Ê飬°üÀ¨ISO9001ÖÊÁ¿¹ÜÀíÌåϵÈÏÖ¤¡¢ISO14001»·¾³¹ÜÀíÌåϵÈÏÖ¤¡¢CPAÐÍʽÅú×¼Ö¤Êé¡¢¹ú¼Ò·À±¬Ö¤¡¢ÊµÓÃÐÂÐÍרÀû¡¢Íâ¹ÛרÀû¡¢CEÖ¤Êé¡¢ROHSÖ¤Êé¡¢¹ú¼Ò¼ì²â±¨¸æ¡¢µÚÈý·½¼ÆÁ¿Ð£×¼Ö¤Êé¡¢Èí¼þÆóÒµÈÏÖ¤Ö¤Êé¡¢ÖйúÒÇÆ÷ÒDZí»áÔ±µ¥Î»¡¢ÖÊÁ¿.·þÎñ.ÐÅÓþAAAÆóÒµ¡¢¸ßб¿Æ¼¼Ð¡¾ÞÈ˽±¡¢ÖйúÂÌÉ«»·±£ÃûÓÅÆóÒµµÈ

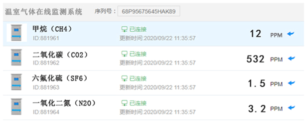
Îå¡¢ÎÂÊÒÆøÌåÔÚÏß¼à²âϵͳ²úÆ·²ÎÊý

Áù¡¢ÎïÁªÍøÆ½Ì¨
Éî¹ú°²SGA-900ϵÁÐÎÂÊÒÆøÌå¼ì²âÒÇÔÚÏß¼à²âϵͳ֧³ÖÎÞÏßÉÏ´«Éî¹ú°²ÎïÁªÍøÆ½Ì¨¡£Í¨¹ýÎïÁªÍøÆ½Ì¨Ö±½Ó¶ÁÈ¡¼ì²âÊýÖµ£¬²é¿´ÆøÌå¼ì²â״̬£¬Éú³ÉÀúÊ·ÇúÏߣ¬·ÖÎöÆøÌå¼ì²âÊýÖµµÈ¡£»¹¿É¶Ô¸÷¸öÆøÌå¼à²âÉ豸½øÐж¨Î»£¬ÊµÏÖÆøÌå¼ì²âµÄ¹¤Òµ»¯¡¢Êý¾Ý»¯¡¢ÖÇÄÜ»¯¹ÜÀí¡¢ÌáÉý¹¤×÷ЧÂÊ¡£Âú×ã¿Í»§ÆøÌå¼à²âµÄÐèÇó¡£
É豸¹¤×÷״̬

É豸¶¨Î»

ÀúÊ·¼Ç¼

±¨¾¯¼Ç¼

Æß¡¢ÎÂÊÒÆøÌå¼ì²âÒÇÔÚ¼à²âϵͳӦÓó¡Ëù
SGA-900ϵÁÐÎÂÊÒÆøÌå¼ì²âÒǹ㷺ÓÃÓÚʯÓÍʯ»¯¡¢ÌìÈ¼Æø¡¢ÄÜÔ´¡¢Ò±Á¶³§¡¢¸ÖÌú³§¡¢ÃºÌ¿³§¡¢Ãº¿ó¡¢Èȵ糧¡¢»¯¹¤³§¡¢ÅÅÆøÍ²¡¢×ÔÀ´Ë®³§¡¢Ò½Ò©³µ¼ä¡¢Ñ̲ÝBWIN±ØÓ®¡¢´óÆø»·¾³¼à²â¡¢¿ÆÑÐԺУ¡¢Â¥ÓÉè¡¢Ïû·À±¨¾¯¡¢ÎÛË®´¦Àí¡¢¹¤Òµ¹ý³Ì»¯¿ØÖÆ¡¢¹øÂ¯·¿¡¢À¬»ø´¦Àí³§¡¢À¬»øÈ¼ÉÕ¡¢¹ÌÌå·ÏÆúÎï´¦Àí¡¢µØÏÂËíµÀ¡¢ÊäÓ͹ܵÀ¡¢¼ÓÆøÕ¾¡¢µØÏ¹ÜÍø¼ìÐÞ¡¢ÊÒÄÚ¿ÕÆøÖÊÁ¿¼ì²â¡¢Ê³Æ·¼Ó¹¤¡¢É±¾úÏû¶¾¡¢Àä¶³²Ö¿â¡¢Å©Ò©»¯·Ê¡¢É±³æ¼ÁÉú²úµÈ¡£
Ó¦Óð¸Àý

³£¼ûÆøÌåÑ¡Ðͱí

¡ùÁíÓÐÉÏǧÖÖÆøÌåºÍÁ¿³Ì¿ÉÑ¡£¬ÏêϸÇë×ÉѯÉî¹ú°²ÏúÊÛÈËÔ±£¡
ÔÁICP±¸13009878ºÅ-1 ÔÁ¹«Íø°²±¸44030702001695ºÅ ? Copyright 2018 ÉîÛÚÊÐÉî¹ú°²µç×ӿƼ¼ÓÐÏÞBWIN±ØÓ® All Rights Reserve